- 壓力變送器系列
- 通用型壓力變送器
- 工業型壓力變送器
- 衛生型壓力變送器
- 數顯型壓力變送器
- 高溫型壓力變送器
- 差壓型壓力變送器
- 潛水型壓力變送器
- 經濟型壓力變送器
- 智能型壓力變送器
- 高壓型壓力變送器
- 壓縮機專用壓力變送器
- 差壓變送器系列
- 智能壓力變送器
- 智能絕對壓力變送器
- 智能差壓變送器
- 智能微差壓變送器
- 智能高靜壓差壓變送器
- 智能單法蘭液位變送器
- 智能單法蘭插入式液位變送器
- 智能遠傳差壓變送器
- 智能遠傳插入式差壓變送器
- 智能遠傳壓力變送器
SLK600S工業顯示型壓力變送器

產品概述
SLK600S工業顯示型壓力變送器采用高性能,高穩定性OEM壓力芯體作為信號測量元件,傳感器信號經過專用信號處理轉換成標準信號輸出,經過長期老化及穩定性篩選,產品性能穩定可靠,應用于環境比較惡劣的露天現場,同時能夠現場壓力顯示,零點,滿程可遷移。XK600S工業顯示型壓力變送器安裝接口形式,既可根據用戶的要求加工,也可提供與其它品牌變送器兼容的規格。該系列產品廣泛應用于工業過程控制、石油、化工、冶金等行業。
產品特點
1、擴散硅壓阻傳感器
2、堅固密封良好的鋁合金接線盒,戶外安裝使用
3、用于氣體,液體,蒸汽的壓力測量
4、提供低壓,中壓,高壓豐富的壓力量程范圍
5、有液晶顯示可選擇
6、款式多樣,適合工業的各種場合要求
7、多種輸出信號可選擇,可按客戶要求定制
性能參數
適用范圍
項目配套,鍋爐,油田,注塑,重工,化工,蒸汽管網,燃氣管網,供水管網
外形結構及接線方式
SLK600S工業顯示型壓力變送器采用高性能,高穩定性OEM壓力芯體作為信號測量元件,傳感器信號經過專用信號處理轉換成標準信號輸出,經過長期老化及穩定性篩選,產品性能穩定可靠,應用于環境比較惡劣的露天現場,同時能夠現場壓力顯示,零點,滿程可遷移。XK600S工業顯示型壓力變送器安裝接口形式,既可根據用戶的要求加工,也可提供與其它品牌變送器兼容的規格。該系列產品廣泛應用于工業過程控制、石油、化工、冶金等行業。
產品特點
1、擴散硅壓阻傳感器
2、堅固密封良好的鋁合金接線盒,戶外安裝使用
3、用于氣體,液體,蒸汽的壓力測量
4、提供低壓,中壓,高壓豐富的壓力量程范圍
5、有液晶顯示可選擇
6、款式多樣,適合工業的各種場合要求
7、多種輸出信號可選擇,可按客戶要求定制
性能參數
| 量程范圍 | -100kPa…0~20kPa…100MPa |
| 壓力類型 | 表壓、絕壓、密封壓 |
| 供電電源 | 24V、12V |
| 輸出信號 | 4~20mA、1~5V、0~5V、0.5~4.5V 、0~10V |
| 工作溫度 | -20℃~85℃ |
| 介質溫度 | -20℃~85℃ |
| 儲存溫度 | -40℃~125℃ |
| 零點溫漂 | ±1.5%FS(@-20℃~85℃) |
| 靈敏度溫漂 | ±1.5%FS(@-20℃~85℃) |
| 過載壓力 | 150%FS |
| 機械振動 | 20g(20~5000HZ) |
| 沖擊 | 100g(11ms) |
| 綜合精度 | 0.5、0.3級可選 |
| 絕 緣 | 100MΩ/250VDC |
| 響應時間 | ≤1ms(上升到90%FS) |
| 長期穩定性 | ±0.2%FS/年 |
| EMC浪涌 | (IEC61000-4-5) 2KV |
| EMC靜電 | (IEC61000-4-2) 接觸放電8KV,空氣放電15K |
| 防護等級 | IP65 |
| 防爆等級 | 本安防爆ExiaⅡCT6 |
| 材質 | 外殼低銅鋁合金;隔離膜片316L |
| 介質兼容 | 與316L不銹鋼兼容的各種介質 |
項目配套,鍋爐,油田,注塑,重工,化工,蒸汽管網,燃氣管網,供水管網
外形結構及接線方式
| 種類 | J1:2088殼體 | J2:2088殼體帶顯示 | J3:133殼體 |
|
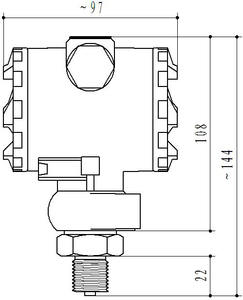
尺寸圖 單位:mm |
![]() |
![]() |
![]() |
|
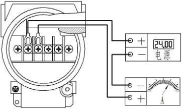
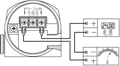
接線方式 (電流輸出) |
![]() |
![]() |
![]() |
|
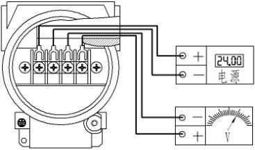
接線方式 (電壓輸出) |
![]() |
|
--------- |
螺紋接口
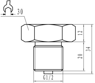
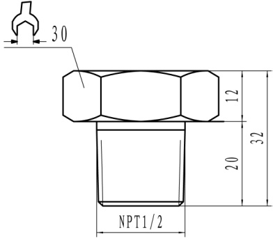
| 種類 | C1:M20×1.5 | C2:G1/2 | C3:NPT1/2 |
|
尺寸圖 單位:mm |
![]() |
![]() |
![]() |
安裝示意(僅供參考)
安裝提示:1. 產品垂直安裝于現場壓力接口。
2. 露天安裝時,應盡量把變送器置于通風干燥處,避免強光直接照射和雨淋,否則將會使性能變差或出現故障。
3. 產品安裝于多雷地區時,訂貨時應注明“防雷”,同時建議用戶在現場加裝防雷擊保護裝置,并確保產品及電源可靠接地,可降低雷電對變送器損壞的概率。
4. 若安裝完成后發現變送器無輸出或者輸出異常,請檢查:
① 電氣連接是否準確,是否牢固;
② 供電電壓是否過低以及負載電阻是否過大。
訂購指南
| 產品名稱 | ||||||||||
| SLK600S工業顯示型壓力變送器 | ||||||||||
| 量程范圍 | ||||||||||
| -100kPa…0~10kPa…100MPa | ||||||||||
| 電源 | ||||||||||
| V1:24V DC 、V2:(12V~36V)DC | ||||||||||
| 輸出信號 | ||||||||||
| B1:4~20mA、B2:0~10V、B3:1~5V、B4:0~5V、B5:0.5V~4.5V | ||||||||||
| 接口螺紋 | ||||||||||
| C1:M20×1.5、C2:G1/2、C3:NPT1/2、C4:G1/4、C5:其它螺紋 | ||||||||||
| 附加信息 | ||||||||||
| J1:2088殼體、J2:2088殼體帶顯示、J3:133殼體 | ||||||||||
| P1:0.5%FS、P2:0.25%FS | ||||||||||
| 壓力類型 | ||||||||||
| G:表壓 A:絕壓 S:密封壓 | ||||||||||
| 防爆要求 | ||||||||||
| E1:本安防爆ExiaⅡCT6 (僅2088殼體有防爆可選) | ||||||||||
| SLK600S | 1MPa | V1 | B1 | C1 | J2P1GE1 選型舉例:SLK600S-1MPa-V1-B1-C1-J2P1GE1 | |||||
表示型號為SLK600S、量程為0~1.0MPa、供電電源為24V、輸出信號為4~20mA、螺紋接口為M20×1.5、電氣連接為2088殼體帶顯示、精度為0.5%、壓力類型為表壓、有防爆要求。
▲訂購提示
1、帶顯示分為數碼管顯示和液晶顯示兩種,請在訂單中說明。
2、若對產品外形和性能參數有特殊要求,本公司可提供定制。
產品信息歸西安仕樂克儀表科技有限公司版權所有
http://m.9oss.cn/view-68-1.html
相關文章推薦:壓力變送器選取壓點應符合的幾個規定 壓力變送器的正負遷移 壓力變送器微調的具體操作步驟 供熱電廠壓力變送器工作原理 壓力開關與傳感器的設計了解 智能壓力變送器的作用及特點 壓力變送器在冬季如何防凍保溫【儀表防凍通用 常用壓力變送器的工作原理和特點 壓力變送器系列中的五大分類 擴散硅壓力變送器在水位控制系統中的應用 壓力變送器使用時需要注意哪些事項 如何延長壓力變送器的使用壽命 壓力變送器主要從哪些方面檢定技術 壓力變送器的正負遷移 壓力變送器主要作用
上一篇:精巧顯示型壓力變送器
下一篇:工業法蘭顯示型壓力變送器












